

Optical Profile grinding is employed to grind various precision moulds such as die & punch for press which have complicated forms of irregular lines and curves, forming cutting tools, cutting tools, high precision plate gauge, electrode for electric discharge grinding and formed precision parts such as template. Structurally optical profile grinding wheels are used in dry, which is a big feature and handled by manual system as well as Numerical Control full automatic system. Lately NC machines are widely employed in various industries and increasing rapidly. Rigidity, horsepower and machining accuracy of latest machines have been much improved where optical profile grinding wheels are required more under this condition to generate high precision machining.
Resin Bond & Metal Bond![]() |
![]() |
![]() |
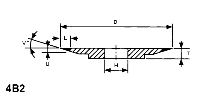
The abrasive grits of profile grinding wheels
| Diamond | For grinding hard materials such as tungsten carbide, cermet, ceramics. |
| CBN | For grinding ferrous materials such as SKH, SKD, SKS, SUS & Etc |
| Concentration (100, 125, 150) | In general we recommend you to choose concentration at 100 or more. |
Nose angle is available from 5°. Depending on the grit size of diamond or CBN employed, nose width and nose radius change as below. Nose strength is high at wider angle (i.e. an obtuse angle), and is strong against the load given vertically, while it is weak against parallel load.
| Grit Size | 140 | 170 | 200 | 230 | 270 | 325 | 360 | 400 | 600 | 800 | 1000 | 1500 |
| Nose width | 0.2 | 0.18 | 0.16 | 0.15 | 0.14 | 0.12 | 0.11 | 0.10 | 0.08 | 0.08 | 0.06 | 0.03 |
| Nose radius | 0.09 ~ 10 | 0.08 ~ 9 | 0.07 ~ 8 | 0.07 ~ 8 | 0.06 ~ 7 | 0.05 ~ 6 | 0.05 ~ 6 | 0.04 ~ 5 | 0.03 ~ 4 | 0.03 ~ 4 | 0.02 ~ 3 | 0.015 ~ 2 |
Depending on the grinding conditions, surface finished differs at great deal.
For instance, when you set cross feed at smaller number, particularly good surface can be achieved.
(#200MVD=0.5S/1mm/min、automatic feeding)
There are several wheels using abrasives of rough sizes. We recommend you to select a wheel depending on grinding efficiency, precision level achieved, and appearance.
| Grit size | 140 | 170 | 200 | 230 | 270 | 325 | 360 | 400 | 600 | 800 | 1000 | 1500 | |
| Surface roughness S | Metal bond | 4 | 3.3 | 2.8 | 2.3 | 2 | 1.7 | 1.4 | 1 | 0.8 | 0.6 | 0.4 | 0.2 |
| Resin bond | 3.3 | 2.8 | 2.4 | 2 | 1.6 | 1.4 | 1 | 0.8 | 0.6 | 0.4 | 0.3 | 0.2 | |
| Surface finished | Rough | Middle | Precision | Ultra precision | |||||||||
|
Workpiece=V type peripheral speed=1500m/min stroke=38 strokes/min cross feed=2.4mm/min automatic feeding depth of cut=depend on 'depth of cut ' in this page. |
|||||||||||||
* Special size can be customized on request.







